Explore ideas, tips guide and info Timothy Gentile
Dimplex Heater Not Working at Cynthia Butler blog
Dimplex Heater Not Working at Cynthia Butler blog
Dimplex Heater Not Working. Dimplex Fireplace Remote Control Not Working [Why + How To Fix Learn more about dimplex heater not working:- mini split not heating- rinnai recirculation not working The furnace filter may be dirty, the capacitor may have stopped functioning or your heater motor has gone bad
dimplex baseboard heater not working Be A Terrific Memoir Picture Library from syahidahghazali.blogspot.com
The two basic types of heater are: Fan Assisted Heaters Convection Heaters (those without a fan) All heaters of the same wattage produce the same amount of heat and cost the same to operate, regardless of type. Heater B - This one will work slightly - but only if the temp gauge is about half way
dimplex baseboard heater not working Be A Terrific Memoir Picture Library
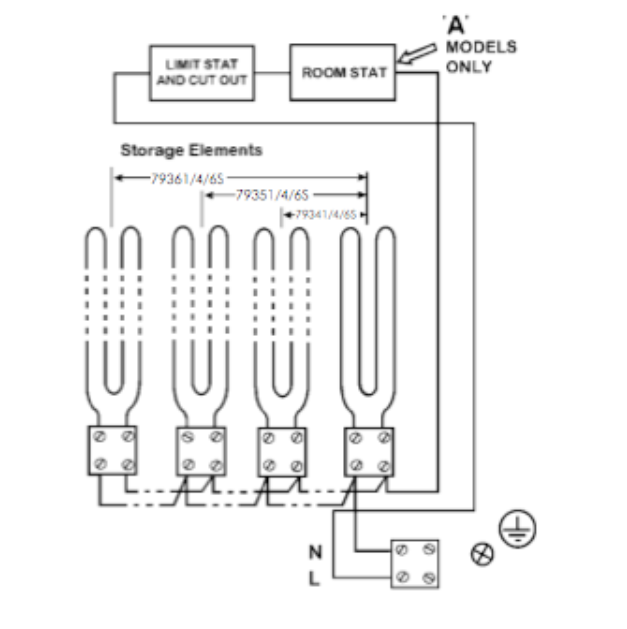
Dimplex heaters are known for their reliability, but like any appliance, they can run into issues The two basic types of heater are: Fan Assisted Heaters Convection Heaters (those without a fan) All heaters of the same wattage produce the same amount of heat and cost the same to operate, regardless of type. I have a Dimplex Quantum QM125 that is not working at off peak and not storing heat
Dimplex 2kw Convector Heater DESC2TN White FULLY WORKING WELL KEPT 4. The most common problem with storage heaters not working is a thermal fuse inside the heater We will ask for your model and serial number, we will then ask a few questions and diagnose your problem over the phone
Dimplex Storage Heaters duo300i and 500i stopped working. cut out. If your unit has a service warranty we will arrange service. If the outlet is not working, try plugging the fireplace into a different outlet